Sample Probes for sample take-off

Sample probes for liquid and gas take-off



Sample probes or nozzles for sample take-off are very important and mostly an underestimated part of the sampling system. Probes are designed for extracting a representative portion of the fluid sample source in the pipeline to the sampling system, this is used direct at the samplepoint.

 

A sample probe nozzles works as a filter, keeping dust, pipe scale and entrained liquid drops out of the extracted fluid sample. A good designed sample probe reduce sample volume, limited sample times, gets better response time, eliminate dead volumes, with extending into the center third of the flowing stream it get better representative sample. Sample probes are used at the sample take-off of extracting also called samplepoint, a sample probe is always combined with a sample block valve.




Sampling Probe with a block valve, Sample probes are used for sample extraction for manual sampling and analyser systems

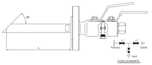
Combination of a Sampling Probe and Block Valve:

The picture shows an example of a Sampling Probe combined with a block valves, the block valve can be only single block (SB), or double block (DB) for more safety or most common the double block and bleed (DB&B) combination. Sample probes are used for sample extraction for manual sampling systems and laboratory analysis or for analyser systems who are measuring 24/7. Other applications are for sample-injection purposes. 

Sample probes and combined block valves can be in all kind of configurations, welded designs, completely machined from one piece bar material or mounted together with threaded components.

  • Free First Filtration Effect!
  • Faster Response (< Lag Time)
  • Representative Sample, better results!
  • Moisture Filtration (fallback) Principle
  • Sample probes with NACE MR0175 or NACE MR0103 standards for sweet and sour gas and liquid (H2S) applications.

The probe extends into the pipe / pipeline to ensure a representative sample that is free of unwanted contaminants that may have collected on the interior pipe wall. Sample probes could be of fixed or insertable / retractable design. The sample probe must be located at a point in the pipe where the flowing stream is properly conditioned.

  • Open Probes
  • Filter Probes
  • Multiport Probes
  • Heated Probes
  • Fallback Probes
  • Small Bore Gas Probes
  • Retractable Sample Probes
  • Isokinetic Steam Probes
  • Single phase liquid samples
  • Toxic liquid samples
  • Dangerous liquid samples
  • Volatile liquid samples
  • Mostly refined (commercial) gas oil, diesel oil,fuels, lubricating oil
  • Water / condensate samples (tap, brackish, saline, demi)
  • All samplers can comply with NACE MR-01-75 / MR-01-03 standards, for sour liquid sample applications.
  • Acid samples • Amine samples • Alcohols • Aromatics • Benzene • Bio-fuel • Brine Water • Chemical mixture • Cumene • DCE (DiChloorEthaan) • Glycol • Gasoline • Hydrocarbons • Ketone • Kerosene • Naphtha • Paraffins • Solvents • Toluene • Xylene • etc.
  • ASTM D 4057
  • ASTM D1265-05
  • NACE MR0175 or MR0103
Check our list of all specific "sampling" codes & standards. goto codes & standards


Gas sample probe for gas sample take-off

Gas Sample Probe Small bore


Liquid sample probe for liquid sample take-off

Liquid Sample Probes


Isokinetic Steam Sampling Nozzle - steam sample probe

Isokinetic Steam Sampling Nozzle/Probe


Filter probes for liquid or gas sample take-off

Filter Probes



Retractable sample probe liquid or gas samples

Retractable Sample Probe


DBB valve and sample probe

Sampling Nozzle with DB&B Valve & Probe


High pressure sample probe liquid or gas samples

High Pressure Sample Probe


Flanged sample probe liquid or gas samples

Pipe Sample Probe



DBB Monoflange valve (probe)


Dual flow sample probe, pitot probe, sample take-off probe

Dual Flow Probes

Mechatest Liquid Sample Probe with Pre-con system

Mechatest's Calculating Services;

  • Lag Time
  • Velocity
  • Probe Vibration
  • Moisture Fallback Effect